
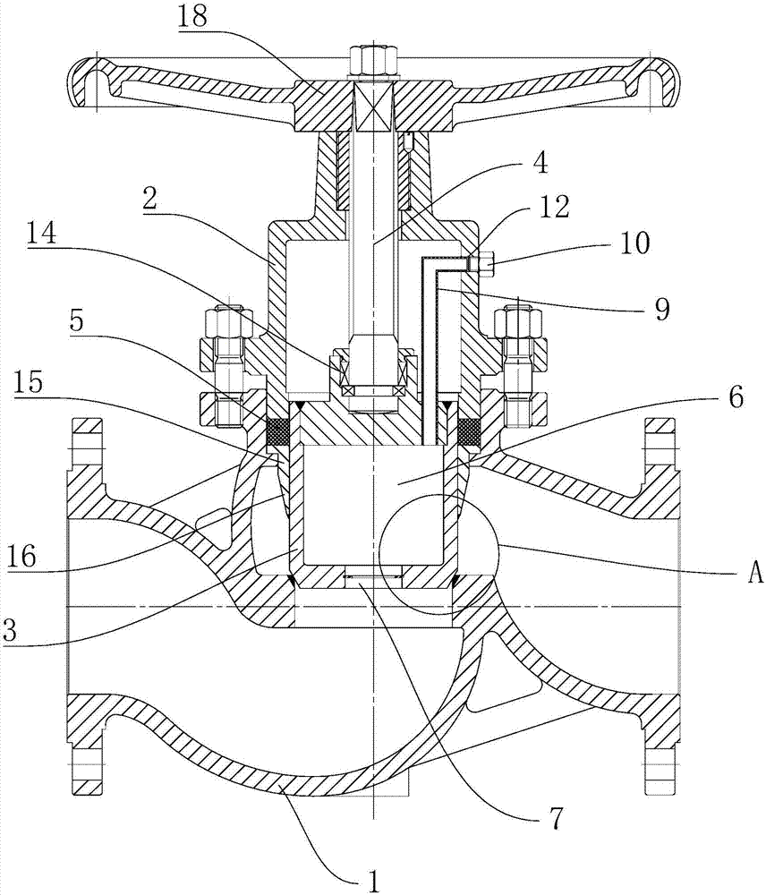
一、柱塞阀的结构
柱塞阀的结构简单,由阀体、阀盖、柱塞、阀杆、导向套、上下密封环、阀杆螺母和手轮等部件组成。
二、柱塞阀的工作原理
当旋转手轮时,阀杆便带动柱塞在上、下两个密封圈中往复运动,完成阀的开启和关闭。柱塞与密封圈、密封圈与阀体之间均采用适量的过盈配合,通过调节阀盖上固定螺栓的压紧力,使密封圈被压缩,其内圈紧紧“抱住”柱塞外配合表面,外圈紧贴阀体内配合表面,这样在密封圈上所产生的径向分力大于流体压力,从而保护了密封性。
由于非金属密封圈采用回弹性强、性能好的毒素检测新型密封材料,所以密封优良,使用时间长。金属密封柱塞阀在阀座锥面上堆焊了合金钢或硬质合金,故多方面提高了阀门的使用性能范围。
三、柱塞阀的特点
与截止阀相比,柱塞阀具有以下优点:
1、柱塞阀密封副为金属与非金属相组合,密封比压较小,容易达到密封要求。
2、密封比压依靠密封件之间的过盈产生,并且可以用压盖螺栓调节密封比压的大小。
3、密封面处不易积留介质中的杂物,能确认密封性能。
4、密封件采用(以实际报告为主)(以实际报告为主)(以实际报告为主)材料制成,使用寿命比截止阀长。
5、检修方便,除需要时换密封圈外,不像截止阀那样需对阀瓣、阀座进行研磨。

| 阀体材料 | 适用温度 | 适用介质 | 压力范围 |
| 铸钢 | ≤250℃ | 水、蒸汽、油品 | PNl.6-4.0MPa |
| 铸铁 | ≤180℃ | 水、蒸汽、油品 | PNl.6 |
| 不锈钢 | ≤200℃ | 硝酸、醋酸 | 通径范围 |
| 含钼不锈钢 | ≤200℃ | 氮、氢、尿素等 | DNl5-400mm |